拍拍貸是什么(拍拍貸是真的嗎)

拍拍貸是國內第一家P2P平臺,紐交所自主上市平臺,主營小額信貸和消費金融。為什么說拍拍貸具備備案的實力?主要是以下幾個方面。
背景信息
拍拍貸于2007年6月上線,其運營主體公司為上海拍拍貸金融信息服務有限公司。根據公開數據,主體公司注冊資金10億元 (實繳資金:10億元)。2018年7月19日正值雷潮期間,拍拍貸為增強投資人信心,將注冊實繳增資至10億人民幣,彰顯其充沛的資金流,面對雷潮穩如泰山。

上海拍拍貸金融信息服務有限公司的母公司為北京拍拍融信投資咨詢有限公司,其實際控制人、法人為顧少豐。
作為國內的第一家P2P平臺,拍拍貸先后完成了三輪融資,并于2017年在美國紐交所敲鐘上市。
2012年10月,國內首家完成A輪融資平臺,由紅杉資本領投的2500萬美元A輪融資;
2014年09月,國內首家完成B輪融資平臺,由紅杉資本、光速投資、諾亞財富(紐交所上市公司)領投的5000萬美元B輪融資;
2015年3月19日,完成由君聯資本、海納亞洲、周大福領投的4000萬美元C輪融資;
2017年11月,在美股敲鐘上市,股票代碼(PPDF),市值17.95億美元。
總的來說,拍拍貸作為第一家P2P平臺,自身實力雄厚,獲得資本青睞,發展潛力無限。
盈利

拍拍貸的盈利能力是在幾家美股上市平臺中最強的,2018年總營收43億元,同比增長10.1%,全年凈利潤24.69億元,同比增長128%,連續4季度盈利。這個凈利潤與增長比代表了拍拍貸的超強盈利能力與未來發展性。
從備案要求的股東法人需連續三年盈利上看,拍拍貸2016年凈利潤5.01億,2017年凈利潤10.8億,2018年凈利潤24.69億。這一點拍拍貸完全符合。
資金實力
成為全國性的網貸備案機構需要滿足以下三個條件
(1)注冊實繳超過5億元人民幣;
(2)風險準備金是借貸余額的3%;
(3)風險補償金是貸款業務的6%。
拍拍貸目前注冊實繳是10億元,這一點完全符合要求且不需要增資。
根據官網信批,目前拍拍貸借貸余額約為203.6億元,即使不去除貸款業務的利息部分,按9%直接計算需要繳納的金額約18億元。
在Q4財報中,拍拍貸的現金和短期理財為33億元,風險保障金賬戶余額為16億元,配合備案作為調整也是輕松無壓力的。

產品整改部分
網傳試點備案平臺不能開展自動投標及委托投標業務,回歸散標時代。拍拍貸的散標區是行內體驗最好的,除了按魔鏡等級區別標的風險和收益外,拍拍貸還開發了策略達人功能,引導新手用戶正確投資散標,可以說是把散標玩的比較透了。
另外需要注意的是,拍拍目前新彩虹主要匹配的是AA級賠標,出現逾期會有由風險保障計劃進行賠付,很多人會擔心整改產品時會打散原有標的,收益得不到保障。這個問題大白認為大家不必擔心,對于拍拍貸來說,整個備案整改難度還是較低的。
綜合評價
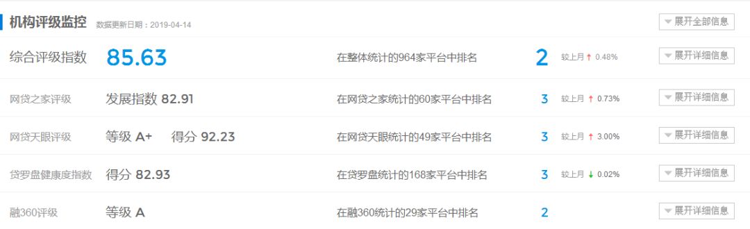
1、權威機構評級情況

(來自貸羅盤)
貸羅盤綜合排名第2名,網貸之家目前3名,網貸天眼目前3名,融360排名目前2名。按照綜合排名表現屬于頭部平臺。
2、綜合分析
拍拍貸作為國內第一家P2P平臺,是公認的頭部,曾獲得三輪資本青睞,已在紐交所敲鐘上市。不管是背景實力、資產風控、盈利能力都是毋庸置疑的。從備案要求的分析上看,拍拍貸資金實力強悍,持續盈利,運營穩健,整改壓力小,備案可能性極高。
綜合以上測評對拍拍貸給出的建議是可重倉12個月。
近期活動
第一期活動時間(4.15-5.31)通過大白專屬鏈接注冊,累計成功投資對應金額即可獲得返現獎勵。
