廣州平安好貸小額貸款有限公司(廣州平安好貸小額貸款有限公司)
記者謝奀國實習記者席文報道
為“回歸本源、聚焦主業”,不少此前積極布局金融業務的上市公司開始撤退。
近日,上市公司中原證券旗下子公司中州藍海與漯河市金融控股有限公司(下稱“漯河金控”)簽訂了《國有產權交易合同》,約定以1.26億元轉讓其持有的河南省中原小額貸款有限公司(下稱“中原小貸”)11%股權。
中原小貸注冊資本10億元,是河南省注冊資本最大的小額貸款公司,中州藍海持股65%為控股股東。此前中原小貸股權就曾經歷過一次轉讓,轉讓比例為15%,受讓公司也是漯河金控。這意味著交易完成后中州藍海持股比例降至39%,將不再是中原小貸的控股股東。漯河金控則成為中原小貸的第一大股東,持股比例升至46%。
中原證券公告顯示,兩次股權轉讓“符合公司對中原小貸的整改方案。”對于降低中州藍海在中原小貸的股權比例的原因,中原證券方面人士向記者表示“是應監管要求?!?/p>
據悉,隨著小貸新規等一系列監管政策出臺,金融監管不斷加強,多地都開始清理整頓小貸公司。一時間,不少上市公司紛紛與旗下小貸公司劃清界限。
據悉,2019年以來,中原小貸的資產負債規模已連續下滑。大股東易主,又將對中原小貸的未來經營發展有何影響?記者致電中原小貸方面,聯系電話一直處于關機狀態。中原證券方面則表示“以公告內容為準?!?/p>
業務收縮,貸款余額已連續下滑
資料顯示,中原小貸成立于2015年12月,是由中原證券作為主發起人,聯合省內大型國企、上市公司及部分民營企業,共同出資設立。公司注冊資本10億元,為河南省內注冊資本最大的小額貸款公司。經營范圍為:在河南省行政區域內辦理各項小額貸款;辦理中小企業發展、管理、財務等咨詢業務;符合規定的自有資金投資;省監管部門批準的其他業務。

記者注意到,2020年11月、2021年11月,中州證券子公司中州藍海投資管理有限公司曾在河南省產權交易中心兩次公開掛牌轉讓中原小貸股權,掛牌期間征集到的唯一受讓方均為漯河金控。中州藍海分別以16238.7萬元、12607.4905萬元向漯河金控轉讓了中原小貸15%、11%的股權。

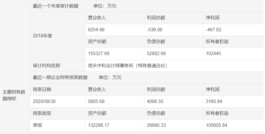
對于這起小貸公司股權轉讓,有行業人士認為,可能和小貸公司本身的經營情況有關。公告披露的數據顯示,中原小貸2019年度的營業收入為9254.99萬元,凈利潤為-467.82萬元,總資產為155327.68萬元。2020年,中原小貸營業收入下滑至7632.12萬元,盈利方面扭虧,小幅盈利3.59萬元;總資產減少至128940.68萬元。


記者注意到,中原小貸截至2020年9月底和2021年9月底的營收、凈利潤、總資產方面的數據整體變化不大,但負債總額從去年同期的26690.33萬元大幅下滑至今年9月底的1385.98萬元。
據中原證券年報數據披露,2017年至2020年,中原小貸的貸款余額分別為12.28億元、12.69億元、11.54億元、10.14億元,整體呈現逐年下滑趨勢。對此,財報解釋稱,主要是受小貸公司融資渠道窄、融資成本高、風控能力弱以及疫情影響等等。
據悉,此前中原小貸的市場布局主要有兩方面,一是依托集團,為優質企業客戶提供綜合金融服務;二是向小微企業和個人金融提供小微和個貸產品。而到2021年中原小貸已僅主要圍繞股東產業鏈開展業務。由上可見,近年來中原小貸的經營情況受到了市場等外部因素的影響較大。
資料顯示,中原小貸還曾“踩雷”鄭州華晶金剛石股份有限公司(上市公司豫金剛石)。經查,豫金剛石涉嫌重大財務造假,2016年至2019年財務信息披露嚴重不實。一是連續三年累計虛增利潤數億元,二是未依法披露對外擔保、關聯交易合計40億余元。
具體來看,2016年至2019年,豫金剛石為其實際控制人及關聯方提供擔保及對外提供擔保共計34筆,合計金額413197.44萬元。其未按規定披露上述擔保事項,導致未及時披露擔保事項,涉案定期報告存在重大遺漏。其中,2017年、2018年、2019年豫金剛石為關聯方提供擔保共計7筆、20筆、5筆,連續三年涉及的債權人中都包含河南省中原小額貸款有限公司。
當記者問及降低中州藍海在中原小貸的股權比例的原因,中原證券方面人士表示“是應監管要求?!敝性C券公告顯示,逐步轉讓中原小貸股權符合證券公司回歸本源、聚焦主業的要求?!扒按?5%股權轉讓及本次11%股權轉讓符合公司對中原小貸的整改方案,中州藍海將不再是中原小貸的控股股東,公司不再對中原小貸擁有控制權,并不再把中原小貸納入公司合并報表范圍?!?/p>
一股東曾經營P2P平臺,目前已涉刑事案件
自2008年小額貸款公司試點以來,全國小額貸款公司最多時曾達近9000家,其中不少小貸牌照被收入互聯網平臺、上市公司旗下。經過激烈的市場競爭和多次監管整頓后,小貸行業正發生明顯分化:多家頭部互聯網平臺紛紛對旗下網絡小貸公司增資,而傳統小貸牌照價值卻是一落千丈。因此類似上述小貸公司股權轉讓的案例在近來并不少見。
例如,京東司法拍賣平臺公告顯示,上市公司赫美集團因破產重整,其持有的深圳赫美小額貸款股份有限公司51%股權正進行拍賣。12月13日,深圳市更高科技有限公司以1000元拍下上述標的。

無獨有偶,今年8月2日,據上海聯合產權交易所披露,交銀國信資產管理有限公司擬轉讓上海交銀小額貸款有限公司100%股權,轉讓價格為2.3億元。9月17日,上市公司怡亞通發布公告稱,公司擬掛牌轉讓全資子公司深圳市宇商小額貸款有限公司100%的股權,掛牌底價為5.57億元。11月24日,新力金融發布公告,上市公司擬將其持有的主要從事融資擔保、小額貸款、典當和融資租賃等類金融業務的公司股權置出上市公司,其中包括合肥德善小額貸款股份有限公司56.51%股權……多家公司正扎堆退出小貸市場。
對于不少上市公司擬與旗下小貸公司劃清界限的原因,行業人士指出,這可能和小貸公司近來面臨的監管收緊有關。近年來《關于加強小額貸款公司監督管理的通知》、《網絡小額貸款業務管理暫行辦法(征求意見稿)》等多份監管新規下發,明確小貸公司原則上應當在公司住所所屬縣級行政區域內開展業務。部分經營良好的小貸公司經地方金融監管部門同意,可以放寬經營區域限制,但不得超出公司住所所屬省級行政區域。
此外,上述監管新規對小貸公司的準入管理、融資渠道、經營紅線等方面作出了規定。明確地方金融監管部門應當按照現有規定,嚴格標準、規范流程,加強與市場監管部門的溝通協調,嚴把小額貸款公司準入關,對股東資信水平、入股資金來源、風險管控能力等加強審查,促進行業高質量發展。小貸行業監管全面收緊。
中原小貸作為河南注冊資本額最大、唯一一家業務能覆蓋全省的大型小額貸款機構,監管方面自然首當其沖。而記者注意到,中原小貸的一名股東卻涉及刑事案件。12月20日,河南省地方金融監管局的公告顯示,該機關于2021年5月7日核發了《河南省地方金融監督管理局關于河南省中原小額貸款有限公司有關事項的批復》(豫金監〔2021〕29號)。因中原小貸公司股東深圳市匯聯互聯網金融服務有限公司涉及刑事案件致使股權變更無法完成,且中原小貸提出申請,該機關決定撤回并注銷豫金監〔2021〕29號批復。

股權信息顯示,深圳市匯聯互聯網金融服務有限公司(下稱深圳匯聯)持有中原小貸5%的股權,為并列第三大股東。

記者從深圳警方公告獲悉,深圳匯聯旗下平臺匯理財因涉嫌非吸已于2020年12月被警方立案。該平臺聲稱良性退出時,出借人數約8000人左右,未兌付本金在7.7億元左右。11月24日,深圳市公安局南山分局關于該平臺的最新通報顯示,近期匯理財專案待收款賬戶新增回款2.34億元。目前合計追繳資金約3.88億元。
南山區人民法院已對相關案件作出一審判決,目前該案正處于深圳市中級人民法院二審階段。在案股權、房產、車輛等將在依法判決后,由法院依法執行變價并分別按比例發還投資人。公安機關要求“匯聯匯理財”的涉案人員(含離職人員)主動將在公司工作期間的獎金、提成、傭金等非法所得全額退繳至待收款專戶,并盡快到案說明情況。
河南省地方金融監管局撤回批復對中原小貸有何影響?大股東易主,中原小貸的未來經營發展又將走向何方?記者就相關問題嘗試致電中原小貸,但聯系電話一直處于關機狀態未能成功接通。對于上述情況記者將持續關注。